Montaż wodomierza głównego
W ramach zawartej umowy na zaopatrzenie w wodę i odprowadzanie ścieków Zakład Komunalny Sp. z o.o. w Żołyni zapewnia montaż i plombowanie pierwszego urządzenia pomiarowego, a także jego wymianę po zakończonym okresie legalizacji.
W celu założenia wodomierza głównego na wykonanym i odebranym przez Zakład przyłączu wodociągowym należy zgłosić się do Biura Obsługi Klienta. Na miejscu jest ustalany termin założenia wodomierza głównego, którego właścicielem jest Zakład Komunalny Sp. z o.o. w Żołyni.
W przypadku uszkodzenia wodomierza przez Odbiorcę usług należy zgłosić konieczność wymiany na nowy. Wymiana wodomierza głównego oraz jego plombowanie wykonywane jest przez pracowników Zakładu natomiast cały koszt wymiany uszkodzonego wodomierza pokrywa Odbiorca usług.
Wodomierze zamontowane na wewnętrznej instalacji wodociągowej budynku (podliczniki) są własnością Odbiorcy usług, a tym samym pozostają w jego utrzymaniu łącznie z montażem i wymianą.
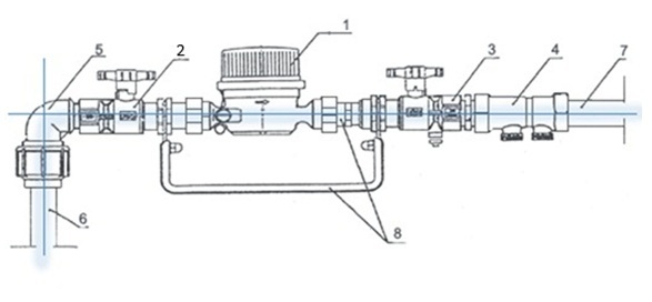
Zakład dokonuje montażu wodomierza na wcześniej przygotowanej instalacji zawierającej konsolę montażową wraz z odpowiednimi zaworami wg poniższego schematu.
1. Wodomierz DN20
2. Zawór kulowy DN25
3. Zawór kulowy DN25 z kurkiem spustowym
4. Zawór zwrotny antyskażeniowy DN25
5. Kolanko z gwintem zewnętrznym
6. Przyłącze wodociągowe
7. Instalacja wewnętrzna
8. Konsola montażowa zapewniająca wymagane odcinki proste
